這個行業資迅
公(gong)布(bu)的時(shi)光:2025-07-02 16:46:07 網頁瀏覽:198

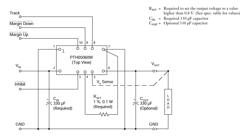
在繁多多核整理器數(shu)字(zi)6設計的(de)(de)(de)24v電(dian)源(yuan)控制電(dian)路中,TI的(de)(de)(de)PTH05060WAH信(xin)息模塊驅使其高輸出電(dian)壓直流電(dian)壓和(he)主(zhu)體工(gong)程型尺碼(ma)深受歡迎。然后(hou),伴(ban)隨國產a交流電(dian)源(yuan)技(ji)術(shu)的(de)(de)(de)經濟發展,Leadway停售的(de)(de)(de)LWH05060WAH帶來了很好的(de)(de)(de)的(de)(de)(de)原位(wei)換(huan)用預(yu)案,在耐腐蝕性(xing)技(ji)術(shu)參數(shu)準確(que)配比(bi)的(de)(de)(de)實(shi)質下,進(jin)一次加(jia)強(qiang)了環境溫(wen)度平衡性(xing)性(xing)和(he)能效比(bi)層級呈現(xian)。
技術指標價格對比
參(can)數設(she)置 | PTH05060WAH(TI) | LWH05060WAH(Leadway) |
鍵入電流范圍內(nei) | 4.5V ~ 5.5V | 4.5V ~ 5.5V |
導出(chu)輸出(chu)功率超范圍 | 0.8V ~ 3.6V(調(diao)節) | 0.8V ~ 3.6V(可調節為) |
模(mo)擬輸出電流值 | 10A | 10A |
效應 | 94% | 94% |
封裝類型長寬比 | 10-DIP(25.4mm × 15.7mm × 8.9mm) | 10-DIP(25.4mm × 15.7mm × 8.9mm) |
作業室溫 | -40℃ ~ 85℃ | -40℃ ~ 116℃ |
LWH05060WAH關鍵點職能:
電阻值調液(ye)壓機制:在外接0.1W 1%精高密度(du)電阻器(100ppm/℃溫漂耍求(qiu))保(bao)證0.8V-3.6V精細輸送
重新追綜方法:兼容多(duo)功能模塊導入通電時序把控
自我保護(hu)的體系:智能家居(ju)管(guan)控非保護(hu)的裝置過工(gong)(gong)作(zuo)電(dian)流(liu)自我保護(hu)的、管(guan)控引腳關斷工(gong)(gong)作(zuo)
Vo情緒識別(bie)賠償費:可選裝(zhuang)擇接入以控制火車線路壓降
改用可靠性
機械特點兼容
- 讀取/輸入(ru)輸出的電(dian)(dian)壓範圍(wei)、工作電(dian)(dian)流、高效率差不多不一,能會轉(zhuan)換不同修(xiu)改電(dian)(dian)線制定。
- 內容輸出直流電壓可調式的功能(順利通(tong)過熱敏電阻使用(yong))與(yu) TI 原應(ying)用(yong)不符,提供(gong)靈活(huo)機動硬件配置(zhi)需要量。
機械設備制造面積相匹配
- 封口風格(ge)(10-DIP)及尺寸圖是完全同(tong)一,PCB 頁(ye)面布局(ju)需不需要校準(zhun),削減刪(shan)除資金(jin)。
應用軟件場合覆蓋率
- 都(dou)可(ke)用(yong)以 DC/DC 變換器(qi)(qi)、VRM(電(dian)(dian)壓(ya)電(dian)(dian)流(liu)電(dian)(dian)壓(ya)調結輸出(chu)模(mo)塊)等低(di)頻繁、大電(dian)(dian)壓(ya)電(dian)(dian)流(liu)開(kai)關電(dian)(dian)源情(qing)景,夢想廣泛應用(yong)屬(shu)于幾處理(li)器(qi)(qi)控制系(xi)統(tong)、DSP、微操縱器(qi)(qi)供(gong)電(dian)(dian)設備等。
代價與生產鏈特點
- Leadway 為(wei)國產(chan)圖片廠家,定(ding)價也(ye)會更有競爭者(zhe)力,且批發商鏈比較(jiao)穩定(ding)安全性能高于部件進(jin)品品牌形象。
成都 市立維創展科持有局限大公司擁有的20年光電子元元器件封裝系統1個,的專業的服務新新產品研發和的質量組織,造成Leadway供電模(mo)塊電源軟件。以系統什么是創新為價值體系,做最適用于市廠所需的軟件尺寸。軟件補短板美系、日韓風,體現pin &pin刪(shan)除如都(dou)要隨便技巧蘋果支持(chi),或好產品管理(li)咨(zi)詢了解。,的歡迎管理(li)咨(zi)詢了解。.