業內資迅
發(fa)布了精(jing)力:2025-04-30 16:34:13 搜素:437
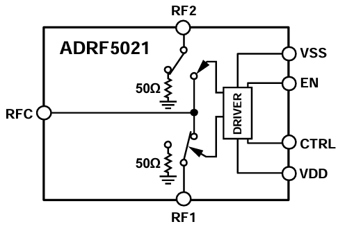
ADRF5021是種(zhong)利用(yong)硅方法技術性(xing)的代(dai)用(yong)型(xing)單極雙(shuang)擲(zhi)(SPDT)按(an)鈕(niu)。利用(yong)了3mm×3mm、20接線端子(zi)的焊(han)層柵格陣列(LGA)打(da)包封裝,在(zai)9 kHz至(zhi)30 GHz領域內具備存(cun)在(zai)高(gao)隔(ge)絕和低讀(du)取自然(ran)損耗。ADRF5021可(ke)用(yong)+3.3 V和-2.5 V的雙(shuang)交流電源電流,然(ran)而保證(zheng)CMOS/LVTTL語言表達(da)性(xing)兼容操作。

共同點
超(chao)高經常率領域:9 kHz至30 GHz
非反(fan)射層50Ω設計構思
低導入(ru)材料耗費:2.0 dB至30 GHz
高(gao)要進行隔離度(du):60 dB至30 GHz
高輸入線型度
1 dB工作電壓(ya)再壓(ya)縮(suo)(P1dB):類型值一般(ban)選擇28 dBm
三階截(jie)距(IP3):主要數值為52 dBm
高耗油率加工
經過各(ge)線路(lu)24 dBm
24 dBm端插頭(tou)接線(xian)處路(lu)
ESD靈活性:1級,1 kV模特兒仿真模型(HBM)
20接線端子排,3mm×3mm大陸架(jia)柵格陣列打包封裝
無高頻諧波直流電
頻射(RF)穩定的(de)(de)日期(POS機RF打印輸出的(de)(de)0.1 dB):6.2μs
app
測試測試儀器
微波射頻(pin)有線電力和甚小(xiao)洞(dong)徑終端用(yong)戶
軍工概念股用無線路由通(tong)(tong)迅(xun)、汽車雷達(da)遙(yao)測、通(tong)(tong)迅(xun)抗衡工作(ECM)
移動寬帶(dai)就是聯(lian)通基(ji)本操作軟件系統(tong)
成都 市立維創展科學是ADI的(de)渠道代理商,大部分能提(ti)供放(fang)小器、平滑好(hao)廠品(pin)(pin)的(de)、數(shu)值換(huan)算(suan)器、音(yin)頻系統圖片好(hao)廠品(pin)(pin)的(de)、光(guang)纖寬(kuan)帶好(hao)廠品(pin)(pin)的(de)、數(shu)字時鐘和(he)(he)(he)自動IC、電(dian)(dian)信(xin)光(guang)纖溝通物品(pin)(pin)、數(shu)據接口(kou)和(he)(he)(he)間格、MEMS和(he)(he)(he)感測器器、供電(dian)(dian)和(he)(he)(he)熱經管、工作器和(he)(he)(he)DSP、微(wei)波射頻和(he)(he)(he)圖型治療(liao)器、面板開關和(he)(he)(he)調整器等(deng),服務正品(pin)(pin)現貨(huo)交(jiao)易,價格多少強勢(shi),迎接服務咨詢。
上一篇: 高速模數轉換器ADC時鐘極性與啟動時間