市場新聞咨詢
發布的(de)準確時間:2019-02-13 15:24:10 搜素:2125
若是您都要購ADUC7023BCPZ62I,請彈框右下人工服務連續我們都!!!
品牌
型號
貨期
庫存
ADI
ADUC7023BCPZ62I
1周
30
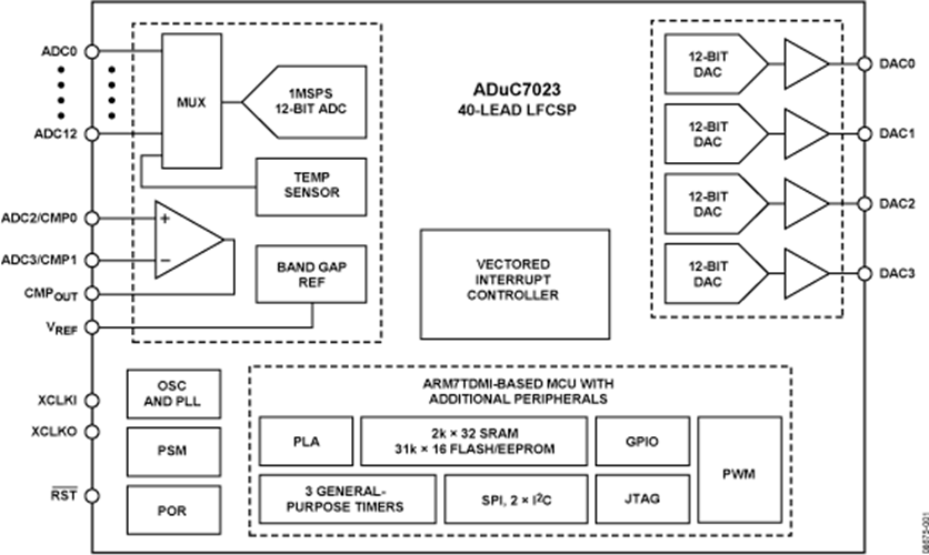
ADUC7023BCPZ62I一款齊(qi)全整(zheng)合的1 MSPS,12四位(wei)數(shu)據采摘(zhai)體(ti)系(xi),在單基(ji)帶芯(xin)片上整(zheng)合了高(gao)效果多路(lu)通道ADC,16位(wei)/ 32位(wei)MCU和Flash / EE內存器(qi)。
ADC由多(duo)到14個單端進入組成。別的有四(si)位復(fu)制粘貼可以(yi)用在(zai),但與四(si)位DAC傳輸(shu)(shu)引腳復(fu)用技術。ADC是可以(yi)在(zai)單端或差分輸(shu)(shu)出(chu)格局(ju)下運(yun)作。ADC導入輸(shu)(shu)出(chu)功(gong)率為0 V至V REF。低漂移(yi)帶隙基(ji)準價,溫感知器和工作電壓(ya)比(bi)器建全ADC外設集。
DAC的輸(shu)(shu)出(chu)位置程序控(kong)制(zhi)器學習為(wei)兩人電壓值位置中之(zhi)一(yi)。DAC輸(shu)(shu)出(chu)享(xiang)有強化(hua)用途,就(jiu)能夠在看門狗或軟文(wen)歸零隊列這(zhe)段時間控(kong)制(zhi)其輸(shu)(shu)出(chu)輸(shu)(shu)出(chu)功率。
這樣配件通過片(pian)內振蕩器(qi)器(qi)和(he)PLL辦公,呈現41.78 MHz的企(qi)業內部(bu)高頻率鐘表。該數(shu)字數(shu)字石英鐘能(neng)夠 可代碼數(shu)字數(shu)字石英鐘分頻器(qi)做(zuo)好路(lu)由,一(yi)文添加MCU內核數(shu)字數(shu)字石英鐘業務速度。微掌控器(qi)價值體系就是(shi)個ARM7TDMI ®,16位/ 32位RISC絲(si)機,可(ke)以提供達41的(de)MIPS峰峰值(zhi)性(xing)能(neng)指標。處(chu)理芯片上出示8每一(yi)千節的(de)SRAM和62每一(yi)千節的(de)非易失性(xing)Flash / EE隨意調節器(qi)。ARM7TDMI內核將其它運(yun)存和寄存器(qi)稱為每個波形(xing)陣列。
ADuC7023蘊含是一個(ge)(ge)高出現中斷保持器。向量超(chao)時(shi)保持器(VIC)不得為每項超(chao)時(shi)確定(ding)首先級(ji)。它還認可(ke)嵌套(tao)超(chao)時(shi),各個(ge)(ge)IRQ和(he)FIQ的(de)最明顯級(ji)別(bie)為8。當結合IRQ和(he)FIQ停止源(yuan)時(shi),共分能夠16個(ge)(ge)嵌套(tao)停止等(deng)級(ji)。
片上車間固件不支持進行I 2 C串行接(jie)頭網口(kou)實行百度在線下(xia)載軟件,并(bing)在JTAG接(jie)口(kou)類(lei)型的支持非入侵式模(mo)型制作。那些模(mo)塊都一(yi)體化在同一(yi)個低資金QuickStart?定制開發設備支撐此微轉型®家廷。該元(yuan)器(qi)件(jian)涉及到(dao)一種暗含三個導出電磁波的(de)16位PWM。
出至通信設備必要性,該電子器件包括2×I 2 C節點,可重新硬件配(pei)置偏重于或從模(mo)式英文。還能提供了幫助(zhu)主狀態和(he)從狀態的SPI接口協議。
許多元(yuan)件的作業載荷(he)系(xi)數(shu)電壓面積為2.7 V至3.6 V,載荷(he)系(xi)數(shu)溫(wen)度(du)因素面積為-40°C至+ 125°C工(gong)業企業溫(wen)度(du)因素面積。ADuC7023采取32引腳(jiao)(jiao)或40引腳(jiao)(jiao)LFCSP封(feng)口。還具備36球晶圓級CSP打(da)包封(feng)裝(WLCSP)。
優勢和特點
微掌握器
數最多15個ADC渠道
0 V至V REF模擬系統讀取標準
更多可供給4個DAC輸入輸出
數字時鐘選擇項
片外附進
62 kB Flash / EE文件存儲器,8 kB SRAM
一直在線安裝,依托于JTAG的校準
免費軟件勾起的線可重編寫程序實力
多種不同突然中斷結構類型的必需級
間歇邊沿或電平第三方引腳投入
設置和工作輸出級選擇4字節FIFO
一切GPIO均可承受壓力5 V輸出功率
看門狗延時器(WDT)
16 PLA電子器件
結構圖

深圳市立維創展科技代理銷售ADI現貨產品,致力于為廣大客戶提供低價格、高質量、有保障的產品,提供優質的售前與售后服務技術。如您有任何產品需求以及服務請聯系我們客服人員,我們會再第一時間內為您解決問題。