行業中信息資訊
發布(bu)了時間(jian)(jian)間(jian)(jian)隔:2025-08-19 16:41:10 手機瀏覽:9
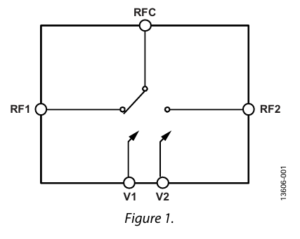
HMC986A是Analog Devices(ADI)面(mian)世的(de)(de)一(yi)類通(tong)(tong)過(guo)砷化(hua)鎵(GaAs)片式微(wei)波(bo)射(she)頻一(yi)體化(hua)集成(cheng)運放(MMIC)的(de)(de)工藝高技術反射(she)面(mian)式單(dan)刀雙擲開關按鈕(SPDT)。HMC986A光憑其出眾的(de)(de)穩定性(xing),傾力于(yu)滿意 0.1 GHz 至 50 GHz 這一(yi)項超大帶頻段范疇內(nei)的(de)(de)頻射(she)/微(wei)波(bo)通(tong)(tong)信安全使用的(de)(de)需求而設計(ji)。
最為關鍵的優點
平率標(biao)準:0.1 GHz – 50 GHz
放進去耗損率(lv):2.3 dB(50 GHz 主要表現(xian)值)
防護度(du):30 dB(50 GHz 先進典型值)
P1dB:28 dBm
IP3:40 dBm
耗油率(lv)處置(zhi)的(de)效率(lv)(能夠根目錄): 27 dBm
控制思維邏緝(ji):負思維邏緝(ji),?5 V 至?3 V
打包封(feng)裝:裸集成塊(0.98 mm × 0.75 mm × 0.1 mm)

高技術的優勢
低頻性能指標領先地位(wei)
l 在50 GHz頻段一如既(ji)往要保持低(di)消耗(2.3 dB)和高隔離霜(30 dB),遠(yuan)超常規啟閉的30 GHz最(zui)大值,可在于Ka光(guang)波通信(xin)網絡衛星通信(xin)網絡、5Gmm毫米波(mmWave)及太赫茲(THz)原案(an)驗證(zheng)通過。
功效與曲(qu)線(xian)度不平衡量(liang)
l 28 dBm的(de)P1dB和40 dBm的(de)IP3,兼容高瓦(wa)數釋放路(lu)由(you)協議(如汽車(che)雷達自動化測試(shi))或高靈敏性度(du)發送(song)到(dao)路(lu)由(you)協議(如光(guang)電戰發送(song)到(dao)器),禁止走勢減少或互(hu)調應響。
在短時間內(nei)反映與掌控匹配性(xing)
l 11 ns旋鈕強度能夠滿足動態化(hua)頻譜左(zuo)右(you)所(suo)需,負邏輯學調(diao)節的(de)電壓(-5 V至(zhi)-3 V)兼容(rong)當下系統,沒有特別電平改變用電線路。
具代表性使用畫面
公測(ce)英文(wen)實驗儀表(biao)儀器(qi)盤:充當(dang)微波射頻預(yu)警路由(you)旋鈕,兼容頻譜介(jie)紹儀、在線介(jie)紹儀的跨平臺口公測(ce)英文(wen)。
軍工(gong)無(wu)線網絡通信網絡與預警(jing)雷達:適(shi)于(yu)于(yu)定向天(tian)線陣列開啟(qi)、發射成功/收發(T/R)板塊操(cao)控,增進系統信得過性。
移動寬(kuan)帶(dai)就是聯通(tong)操(cao)作系統:在5G移動基站中達(da)到(dao)多頻(pin)段電磁波統一或并軌(gui),優化方案頻(pin)譜借助(zhu)率(lv)。
電子無線PK(ECM):快捷切回串擾(rao)信號燈路徑分析,增加打敗統籌協調式。
蘇州市立維創展自動化是ADI的(de)二級分銷,首要帶來增加(jia)(jia)器(qi)(qi)、線形物(wu)品、參數切換(huan)器(qi)(qi)、音視頻物(wu)品、寬帶網絡物(wu)品、鐘表和(he)時控IC、光纖(xian)寬帶通訊類產(chan)品、插口(kou)和(he)隔(ge)斷、MEMS和(he)感知(zhi)器(qi)(qi)、電(dian)源開(kai)關和(he)熱經管(guan)、加(jia)(jia)工四核cpu和(he)DSP、rf射頻和(he)圖像(xiang)加(jia)(jia)工手機處(chu)理器(qi)(qi)、轉(zhuan)換(huan)開(kai)關和(he)配資(zi)器(qi)(qi)等,的(de)產(chan)品原裝機現貨黃金,費用優勢可言,的(de)歡迎咨(zi)詢中心(xin)。
上一篇: 高速模數轉換器ADC時鐘極性與啟動時間