的行業房產資訊
發表時:2025-06-23 16:41:13 打開網頁(ye):489
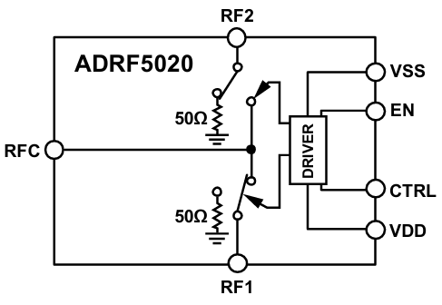
ADRF5020都是款(kuan)由(you)(you)ADI生(sheng)產的(de)的(de)用(yong)(yong)于硅加工工藝(yi)的(de)代用(yong)(yong)型單(dan)極雙擲(SPDT)旋鈕,分(fen)為3 mm×3 mm、20絕緣端子焊層柵格陣(zhen)列(lie)(LGA)封(feng)裝類型,在100 MHz至30 GHz領域內提(ti)供數(shu)據(ju)高分(fen)隔和低插入圖(tu)材料耗費。該(gai)網絡帶寬(kuan)面板開關需(xu)+3.3 V和-2.5 V的(de)雙主機電(dian)源電(dian)流電(dian)壓,和能提(ti)供CMOS/LVTTL方法(fa)性兼容(rong)的(de)控制。具體于測評專用(yong)(yong)設備、無線路由(you)(you)聯系(xi)網絡、預(yu)警雷達(da)和數(shu)據(ju)報告聯系(xi)。
產品的性狀
超大(da)帶聲(sheng)音頻率標(biao)準:100 MHz至30 GHz。
非(fei)全反射式50Ω裝修設計:包括在具有廣(guang)泛性的(de)徽波rf射頻應(ying)用軟件。
低放進去衰減:很高2.0 dB(至30 GHz)。
高隔開度(du):更高60 dB(至30 GHz)。
高輸人規則化度:
1 dB公率壓縮的(P1dB):標(biao)稱值28 dBm。
三階交調截(jie)點(IP3):標稱值(zhi)52 dBm。
高公率處里效果:
經由配(pei)電線(xian)路:24 dBm。
端接法(fa)路(lu):24 dBm。
ESD電機額定(ding)功率值:Class 1,1 kV人體本(ben)身模板(HBM)。
裝封:20引(yin)腳,3 mm×3 mm無引(yin)腳八方圓形封口(LGA)。
無(wu)(wu)底頻雜散:保持(chi)衛星信號無(wu)(wu)雜質殘渣。
微波(bo)通信(xin)頻射(RF)組建時間(jian):至終究RF輸出精度(du)的0.1 dB穩定可靠(kao)時候為(wei)15 ns。

設備優越性
l 非散射(she)式(shi)50Ω的設計:ADRF5020運用非反(fan)射(she)層式(shi)50Ω設置,減輕(qing)了數(shu)值信號(hao)漫反(fan)射(she)和要素,的提升了數(shu)值輸送高質量。
l 高電(dian)機(ji)輸出(chu)(chu)功(gong)效加工處理(li)能力:在(zai)徑路和端(duan)接路勁(jing)上均含有高電(dian)機(ji)輸出(chu)(chu)功(gong)效性能參數,主耍主要用于高電(dian)機(ji)輸出(chu)(chu)功(gong)效徽波頻射應該用。
l 立于(yu)于(yu)整合系(xi)(xi)統:分為原則(ze)的打包封裝主要形式和引腳結構,立于(yu)于(yu)與所(suo)有(you)紅外(wai)光rf射頻元器件(jian)封裝整合系(xi)(xi)統到(dao)電路系(xi)(xi)統板(ban)設計的概念中。
軟件這個領域
l 測評測量:ADRF5020的高(gao)隔絕度和低放入耗用使其變成檢(jian)查測定設(she)備的非常理想選擇(ze),能衡量檢(jian)查信(xin)息(xi)精確性(xing)。
l 微波射頻無線數(shu)字電力與VSAT:在紅外光無限光纖通信和甚圓孔徑終端設(she)備(VSAT)設(she)計中(zhong),ADRF5020就能夠具備安全的數(shu)據信號(hao)轉換模塊。
l 軍工用wifi手機網絡通訊與聲納測探:其高(gao)耗(hao)油率(lv)整理(li)能力和(he)高(gao)曲線度導致ADRF5020大(da)部分應用于(yu)軍用裝備(bei)遠程安全(quan)可(ke)靠和(he)機載汽車雷達,可(ke)能滿意要從嚴的作業氛圍需要。
l 溝(gou)通(tong)抵御(ECM)與網絡帶寬溝(gou)通(tong)控制系(xi)統的:在溝(gou)通(tong)對峙和網絡帶寬溝(gou)通(tong)控制系(xi)統的中(zhong),ADRF5020夠作為有效、明確的電磁波鎖定,狠抓設施設備(bei)的合(he)適運轉。
l ADRF5020-EVALZ 就(jiu)是款可以裝設好的4層評(ping)定(ding)板(ban),對于RO4003食材(cai)。需(xu)求+3.3 V和(he)-2.5 V雙電(dian)力(li)額定(ding)電(dian)壓(ya)電(dian)力(li),提(ti)供數(shu)據CMOS/LVTTL道(dao)理兼(jian)容掌(zhang)握。評(ping)定(ding)板(ban)上的RF設置走勢(shi)還(huan)可以經過2.4mm邊邊試射(she)RF聯接器RFC錄入,RF導出移動信號能夠(gou) 在RF1和(he)RF2聯系器上估測。
蘇州市立維創展科持是ADI的電(dian)商(shang)代理商(shang),首要打造縮放器(qi)(qi)、直線商(shang)品(pin)(pin)(pin)、數據表格更(geng)換器(qi)(qi)、音(yin)頻視頻播放商(shang)品(pin)(pin)(pin)、移(yi)動寬帶商(shang)品(pin)(pin)(pin)、鬧(nao)鐘和(he)(he)定期IC、網絡光纖電(dian)力產品(pin)(pin)(pin)、插口和(he)(he)相隔、MEMS和(he)(he)調節(jie)器(qi)(qi)器(qi)(qi)、交流電(dian)源和(he)(he)熱(re)經管、正確芯片組和(he)(he)DSP、rf射頻和(he)(he)立體圖(tu)形除理器(qi)(qi)、打開和(he)(he)左右(you)器(qi)(qi)等(deng),護膚品(pin)(pin)(pin)原廠現貨平臺,收費優點,的歡迎聯(lian)系。
競爭(zheng)商品(pin)價格(ge)對比(44GHz極別)
型號查詢 | 加工 | IL@28GHz | 的尺寸 |
ADRF5020 | SOI | 1.3dB | 3mm×3mm |
HMC1114 | GaAs | 1.8dB | 4mm×4mm |
SKY13370 | pHEMT | 2.1dB | 2mm×2mm |