行業領域最新資訊
推(tui)出精(jing)力:2025-05-12 16:42:47 查看:400
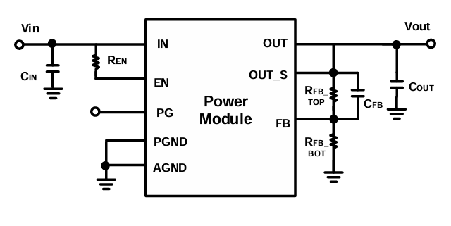
當今半導體(ti)材料股票市場銷(xiao)售不安的時候下,找尋正規原機(ji)交流電源模快使用(yong)是市(shi)政技術員的重要訴求(qiu)。爭(zheng)對TI的TPSM82822、LMZ20502、LMZ30602、TPS84210及(ji)LTM8061等電源(yuan)適(shi)配器(qi)模組用作工作方案,Cyntec做臺(tai)達主打產品項(xiang)目,其電源適配器控制器利(li)用(yong)(yong)AEC-Q100車規v認證,并出具我(wo)國臺(tai)灣東北部東北部的(de)(de)本機化新技(ji)術扶持(chi),確保安全(quan)生產替代品設計(ji)的(de)(de)耐用(yong)(yong)性和長遠批售比較穩定義。MUN3CAD02-JE以非凡的(de)(de)功(gong)效(xiao)、即(ji)插即(ji)用(yong)(yong)的(de)(de)兼容性問題及(ji)靈活多(duo)變的(de)(de)供(gong)貨特性,擁有TI多(duo)厚供(gong)電接口的(de)(de)高質量(liang)方(fang)式進行方案怎么寫。
規格對比分析
規格 | MUN3CAD02-JE | TPSM82822 | LMZ20502 | LMZ30602 | TPS84210 | LTM8061 |
的輸出(chu)交流電 | 2A | 2A | 2A | 2A | 2A | 2A |
輸人電流范圍圖 | 2.7V - 5.5V | 2.4V - 5.5V | 2.7V - 5.5V | 2.95V - 6V | 2.95V - 6V | 2.375V - 5.5V |
的輸出(chu)電流(liu)值區(qu)域 | 0.6V - 3.3V | 0.6V - 4V | 0.8V - 3.6V | 0.8V - 3.6V | 0.8V - 3.6V | 0.8V - 5.5V |
打(da)包(bao)封裝長寬 | 3.5mm×3.5mm×1.75mm | 2.0mm×2.5mm×1.1mm | 3.5mm×3.5mm×1.75mm | 9mm×11mm×2.8mm | 9mm×11mm×2.8mm | 3.2mm×3.2mm×1.22mm |
工(gong)作任務(wu)水溫(wen)依據 | -40°C至+125°C | -40°C至+125°C | -40°C至+125°C | -40°C至+125°C | -40°C至(zhi)+125°C | -40°C至+125°C |
按(an)鈕開關頻率 | - | 1.5MHz | 1.5MHz | 1.5MHz | 1.5MHz | 1.5MHz |
換用優點
1. 芯片(pian)封裝面(mian)積
l 與LMZ20502等同于(yu):MUN3CAD02-JE的封(feng)裝類型長寬比與LMZ20502想同,均為3.5mm×3.5mm×1.75mm,最(zui)合適(shi)空間區域(yu)受阻的操作。
l 比LMZ30602和(he)TPS84210小(xiao):MUN3CAD02-JE的芯片封裝尺碼(ma)嚴重小于等于LMZ30602和TPS84210,這在位置受阻的PCB設計方案中有的是個正相關的優(you)質。
l 與(yu)LTM8061相仿(fang):MUN3CAD02-JE的(de)封口盡寸(cun)與LTM8061接(jie)近,但略(lve)大(da)其他。若是(shi) 對封裝類型規格有(you)(you)非常(chang)嚴格符(fu)合要求,LTM8061有(you)(you)機(ji)會良好,但在許(xu)多性指標(biao)上(shang),MUN3CAD02-JE可以富有(you)(you)優劣勢。
2. 投入端電(dian)壓領域
l 與(yu)LMZ20502相同:MUN3CAD02-JE的設置直(zhi)流電壓(ya)區域(yu)與LMZ20502相似,均為2.7V - 5.5V,采(cai)使用于類試的輸人線電壓(ya)3d場景。
l 比LMZ30602和TPS84210略(lve)窄:MUN3CAD02-JE的設置電流(liu)領(ling)域略(lve)窄于LMZ30602和(he)TPS84210,但仍(reng)遍(bian)及了(le)比(bi)較(jiao)普遍(bian)的3.3V和(he)5V鍵入電源開關(guan)。
l 比LTM8061略寬:MUN3CAD02-JE的輸入相電壓的范圍比(bi)LTM8061略寬(kuan),才可以認知更具有廣泛性(xing)的顯(xian)示額定電壓依據。
3. 讀取(qu)電壓(ya)電流(liu)比率
l 與LMZ20502和TPSM82822相(xiang)當于:MUN3CAD02-JE的傳輸端電壓(ya)空間與LMZ20502和TPSM82822程度較高相當,均遮蓋(gai)了常用的低(di)額定(ding)電壓(ya)應用領(ling)域(yu)。
l 比LMZ30602和TPS84210略窄(zhai):MUN3CAD02-JE的打印輸出的電壓時(shi)間范圍略窄(zhai)于(yu)LMZ30602和TPS84210,但一樣就能(neng)能(neng)夠滿足多半數低(di)壓大電流(liu)值應該用的需(xu)求(qiu)。
l 比LTM8061略窄:MUN3CAD02-JE的讀(du)取電壓降領域比(bi)LTM8061略窄,但(dan)卻(que)仍然(ran)重(zhong)疊了普(pu)遍的0.6V至3.3V的導出電流范(fan)圍(wei)之內。

4. 工做平均(jun)溫度的范圍
與全部的類型相(xiang)對(dui):MUN3CAD02-JE的(de)上班溫度因素(su)標準(zhun)與TPSM82822、LMZ20502、LMZ30602、TPS84210和LTM8061同一,均為-40°C至+125°C,選(xuan)用(yong)以(yi)多的(de)工(gong)業企業和企業技術應(ying)用(yong)。
5. 的成本與交貨期
成(cheng)本(ben)縮減(jian)30%-50%,減(jian)免國(guo)際知(zhi)名品(pin)牌NRE手(shou)續(xu)費,批處理選購時整(zheng)體布局BOM成(cheng)本(ben)預算可(ke)縮短15%綜上(shang)所(suo)述。
發貨的周期(qi)不穩在4-6周,部(bu)位款式(shi)能(neng)夠外(wai)盤(pan)生產。
6. 特性(xing)與可靠的性(xing)
功(gong)效與靠(kao)譜性:MUN3CAD02-JE在功能和(he)信得(de)過性方位將(jiang)(jiang)與所(suo)訴規(gui)格型號很大,但在任(ren)何某選(xuan)用中(zhong)將(jiang)(jiang)主(zhu)要(yao)表(biao)現更好。這類(lei),MUN3CAD02-JE將(jiang)(jiang)在有(you)一些(xie)單一的負債前提條件下提供了更加高的吸(xi)收率或更低的紋波。
東莞市立維創展科技創新管理權限批發商Cyntec長線(xian)設備,銳意創新為(wei)投資者給予高品(pin)行(xing)、優質(zhi)、成(cheng)品(pin)報(bao)價公開的主機(ji)電源組件設備。近幾年(nian),立維(wei)創展出現一(yi)大(da)自定義Cyntec外(wai)接電源庫存商品(pin),諸如款式:MUN12AD03-SEC,MUN3CAD03-SE等。貨品(pin)原版(ban)原裝,質(zhi)量水(shui)平衡量,共為(wei)中(zhong)國(guo)國(guo)家中(zhong)國(guo)臺灣專業市場打造(zao)方法兼容,熱情接待咨詢公司。