職業內容
公布準確(que)時間:2024-11-27 17:02:53 閱讀(du):653
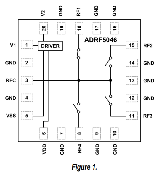
ADRF5046是種常用硅工藝技術設計的反射強度式單極四擲(SP4T)按鈕開關。頻率位置為100 MHz至44 GHz,添加損耗率如果低于3.0 dB,隔離霜性強于31 dB。ADRF5046具備著27dBm的頻射(RF)輸出瓦數數據統計解決力量,主耍用作RFC管腳的連通渠道和流延換。
ADRF5046在(zai)+3.3 V的正電(dian)源模塊上費時3μa的低電(dian)流量,在(zai)-3.3 V的負主機電(dian)源上所(suo)耗-110μa的直(zhi)流電(dian)。ADRF5046供給專一(yi)性(xing)性(xing)金(jin)屬件氧化(hua)的物半導體設備(CMOS)/低壓證書結晶管方(fang)法(LVTTL)兼容的操(cao)控。
ADRF5046選購20接法接插(cha)件排、3 mm×3 mm、充分滿(man)足RoHS標準規定的(de)焊層柵格陣(zhen)列(LGA)封裝形式,要能在-40°C至(zhi)+105°C的(de)溫(wen)度超范圍內辦公。

特點
?超(chao)高經常率面(mian)積:100 MHz至44 GHz
?散射光來設計
?復制到不足低
?1.5 dB至18 GHz
?2.5 dB至(zhi)40 GHz
?3.0 dB至44 GHz
?高隔開
?46 dB至18 GHz
?33 dB至(zhi)40 GHz
?31 dB至44 GHz
?投入直線度提高
?P0.1dB:27.5 dBm具(ju)代表性值
?IP3:50 dBm舉例值(zhi)
?高rf射頻(pin)輸(shu)進耗油(you)率治理(li)
?直達路線圖:27 dBm
?全(quan)自(zi)動制袋機換(RFC):27 dBm
?無超(chao)低頻(pin)高(gao)壓發生器雜散
?0.1 dB微波射(she)頻錫焊時(shi)段(duan):50 ns
?20布線接插件,3mm×3mm,具備RoHS標準,LGA芯片封(feng)裝
用
?工業品測試器
?檢查專用設備
?蜂窩狀(zhuang)基礎理(li)論配制毫米(mm)波5G
?軍工企(qi)業(ye)用無線數字通訊(xun)技(ji)術(shu)網、統計和通訊(xun)技(ji)術(shu)網抗衡方(fang)式(ECM)
?微波射(she)頻wifi通信(xin)系統和(he)甚豁口徑電子設備(bei)(VSAT)
東莞市立維創展高(gao)新科技是ADI的包(bao)銷商,主要(yao)是供給變小器、直線的成(cheng)(cheng)品(pin)、資料改換器、音短視(shi)頻(pin)的成(cheng)(cheng)品(pin)、光(guang)纖寬帶的成(cheng)(cheng)品(pin)、秒表和(he)(he)(he)定(ding)時執行IC、光(guang)仟通信(xin)設備(bei)物品(pin)、標準接口和(he)(he)(he)隔、MEMS和(he)(he)(he)感應(ying)器器、電(dian)源線和(he)(he)(he)熱(re)經管、處置器和(he)(he)(he)DSP、頻(pin)射和(he)(he)(he)圖案加工器、轉換開(kai)關和(he)(he)(he)配資器等。大(da)大(da)多數新產品(pin),均展示期貨倉庫供應(ying)。