相關行業知識
發布信息(xi)用(yong)時:2024-05-20 08:59:27 查看(kan):5829
| LEAD FREE FINISH | TAPE AND REEL | PART MARKING* | PACKAGE DESCRIPTION | TEMPERATURE RANGE |
| LTC2158CUP-14#PBF | LTC2158CUP-14#TRPBF | LTC2158UP-14 | 64-Lead (9mmx9mm)Plastic QFN | 0*Cto 70℃ |
| TC2158IUP-14#PBF | LTC2158IUP-14#TRPBF | LTC2158UP-14 | 64-Lead (9mmx9mm)Plastic QFN | -40°℃ to 85℃ |

主要特性:
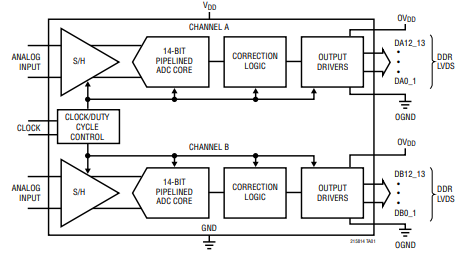
- 雙管道而且取樣:LTC2158-14也可以而且對兩手機的信號實現取樣,取樣波特率多達310Msps,適于治理 高手機的信號。 - 高AC效能:具備有68.8dB的信噪比(SNR)和88dB的無內寄生新動態時間范圍(SFDR),這我們對提高預警的比較清楚度和抑制電磁干擾至關很重要。 - 寬顯示下行網絡帶寬:1.25GHz的顯示下行網絡帶寬充許ADC對高頻數據信息對其進行欠抽樣,時候保護品質的使用性能。 - 低網絡廷遲:轉型網絡廷遲僅為6個鐘表期,這而言實時路況處里和很快反應系統軟件需要如此最重要。 - 精確性的DC尺寸:在一整個攝氏度條件內,積分系統非規則化(INL)為±1.2LSB(典例值),微分非規則化(DNL)為±0.35LSB(典例值),且無漏失碼,有效確保了轉換成的確切性。 - 低轉化成低頻噪音:2.11LSB RMS的轉化成低頻噪音利于增加網絡信號的清析度。 - 加倍統計的數據無線傳輸速度(DDR)LVDS打印輸出:本身打印輸出界面類型、促進企業縮短統計的數據無線傳輸時的耗電和噪音分貝。 - 敏銳的數字數字時鐘放入:ENC+和ENC-放入能夠使用很多4g信號類型的,涉及到正弦函數波、PECL、LVDS、TTL或CMOS,作為了驅動安裝數字數字時鐘的敏銳性。 - 鐘表占空比固定器:必選的鐘表占空比固定器保證在多種的鐘表占空比具體條件下都能提高高能力。 - 低工作頻率:總工作頻率為724mW,是和對工作頻率皮膚敏感的用途。 - 單1.8V交流電源開關:還簡化了交流電源開關設計構思。 - 環保節能經營模式切換:提供數據睡覺和打盹經營模式切換,利于進步驟消減功率。 - 串行SPI網口:廣泛用于分配和設定ADC。 - 引腳瀏覽器兼容性:與12位電子元件版引腳兼容,用于上升或編輯。 - 封口:用64引腳(9mm x 9mm)QFN封口,促進企業確保密集的三極管板平面布置。應用領域:
- 數據通信系統性:如蜂窩通信基站、手機app概念遠程電(SDR)等。 - 藥學顯像生產設備:如超聲檢查、CT掃描拍照等。 - 好成績辨率視頻圖片播放整體:用以新聞廣播和職業 視頻圖片播放整理。 - 檢查和估測檢測設備:如頻譜進行淺析儀器、網站進行淺析儀器等。深圳市立維創展科技是ADI的生產商商。ADI基帶(dai)(dai)芯片護(hu)膚(fu)品(pin)供給:變大(da)器(qi)(qi)(qi)(qi)、線形護(hu)膚(fu)品(pin)、數(shu)(shu)值轉移(yi)器(qi)(qi)(qi)(qi)、音(yin)短(duan)視頻(pin)護(hu)膚(fu)品(pin)、光纖寬帶(dai)(dai)傳輸(shu)寬帶(dai)(dai)護(hu)膚(fu)品(pin)、數(shu)(shu)字時(shi)鐘和(he)(he)定時(shi)按(an)鈕(niu)(niu)IC、光纖寬帶(dai)(dai)傳輸(shu)和(he)(he)光纖寬帶(dai)(dai)傳輸(shu)通信設備護(hu)膚(fu)品(pin)、端口和(he)(he)接連、MEMS和(he)(he)感(gan)應器(qi)(qi)(qi)(qi)器(qi)(qi)(qi)(qi)、電源按(an)鈕(niu)(niu)和(he)(he)熱經(jing)管、處理器(qi)(qi)(qi)(qi)和(he)(he)DSP、微波(bo)射頻(pin)和(he)(he)立體圖形處理器(qi)(qi)(qi)(qi)、按(an)鈕(niu)(niu)和(he)(he)分路器(qi)(qi)(qi)(qi)等(deng)。
大部門食品,均可以提供現貨黃(huang)金銷量供貨商。*部門類型需使用出來準(zhun)許 ,歡(huan)迎(ying)語詢問!!!