制造行業最新資訊
上線(xian)時長:2024-10-24 16:58:54 訪(fang)問 :822
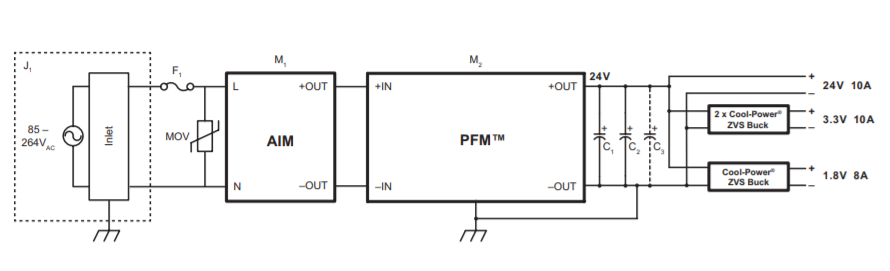
VICOR電原AIM1714VB6MC7D5T00方案電源是款前面方案電源,全力于立即與國家交流溝通電協調,以及為PFM4414 VIA物料必備條件整流溝通鍵入。AIM1714VB6MC7D5T00將橋式整流器、EMI濾波器和浪涌自我保護電源適配器電路原理選配在簡便易用的VIA塑膠塑料殼中。AIM1714VB6MC7D5T00芯片封裝中的AIM和PFM模塊圖片可能為單一化的電子設備用途進行小中型型、有轉化率率和容易的AC-DC處理好預案。

能力與優越性
?通用版型(xing)鍵入(ru)(85-264VAC,47-63Hz)
?機箱裝(zhuang)設或PCB安裝(zhuang)使(shi)用樣式寬(kuan)度(du)
?精致固定的封(feng)裝類型
?深藏不露
?EMI濾波
?與(yu)外(wai)接MOV和穩妥(tuo)管(guan)配用,與(yu)VICOR PFM4414類(lei)產品達(da)配時(shi),滿足了EN61000-4-5 3級浪涌守護
典型的適用
?小規模型蜂(feng)窩狀移動信號(hao)塔
?聯通無線網(wang)絡置換的設備
?LED燈具照明
?測評和(he)測量機器(qi)設備(bei)
?200-400W工業制造電(dian)氣公司模式
?電子機器設備
VICOR電供給 DC-DC、AC-DC交流電源開關功能控制模塊,隔開、非隔開交流電源開關功能控制模塊等轉變器兼具大小小,靠得住高,輸出密度單位各國領先于等競爭優勢。因日前交貨時間和賣場價格很不志向,賣場推見的臺達同檔次Cyntec的M block 電源(yuan)適配器引(yin)擎代替(ti)VICOR。
Cnytec創辦于(yu)1991年,注意(yi)(yi)科研(yan)、產量和(he)(he)賣高(gao)精硬度較和(he)(he)高(gao)硬度組件、感應器器和(he)(he)應用(yong)域域功(gong)能鍵組件。物品注意(yi)(yi)包函(han)智能家(jia)居控制(zhi)化(hua)電感、瓦數組件和(he)(he)高(gao)精硬度較電阻值(zhi)器。最廣泛用(yong)到于(yu)電信(xin)(xin)裝(zhuang)備(bei)、通訊網絡移動通信(xin)(xin)基站、機(ji)械裝(zhuang)備(bei)裝(zhuang)備(bei)等。
河南(nan)市(shi)立維創(chuang)(chuang)展科技(ji)信息管理(li)權限(xian)進(jin)口代理(li)Cyntec旅游線(xian)貨(huo)品的,努(nu)力為(wei)客人帶(dai)來了高(gao)貨(huo)品品質、高(gao)品水(shui)平、價格公開的電源模塊貨(huo)品的。近些年(nian),立維創(chuang)(chuang)展是有大量量Cyntec電原存量,舉個例子應用:MUN12AD03-SEC,MUN3CAD03-SE等。類產品正品原裝,質確(que)保,而且為(wei)中國有世界市(shi)場的打(da)造技(ji)術(shu)水(shui)平可以支持,的歡(huan)迎服務咨詢。